
中国是全球最大的大宗商品进口国,但目前全球大宗商品基准价格的定价权仍集中在伦敦、新加坡、纽约等国际金融中心。中国方面希望进一步增强自身对大宗商品价格的影响力,而此次开放举措也与提升人民币国际吸引力的目标相辅相成。
公募基金Top50重仓股:科技成长与高端制造核心方向 超千只基金持有宁德时代、中际旭创、紫金矿业
张通社 zhangtongshe.com
|源于张江,安身上海,职业科创|
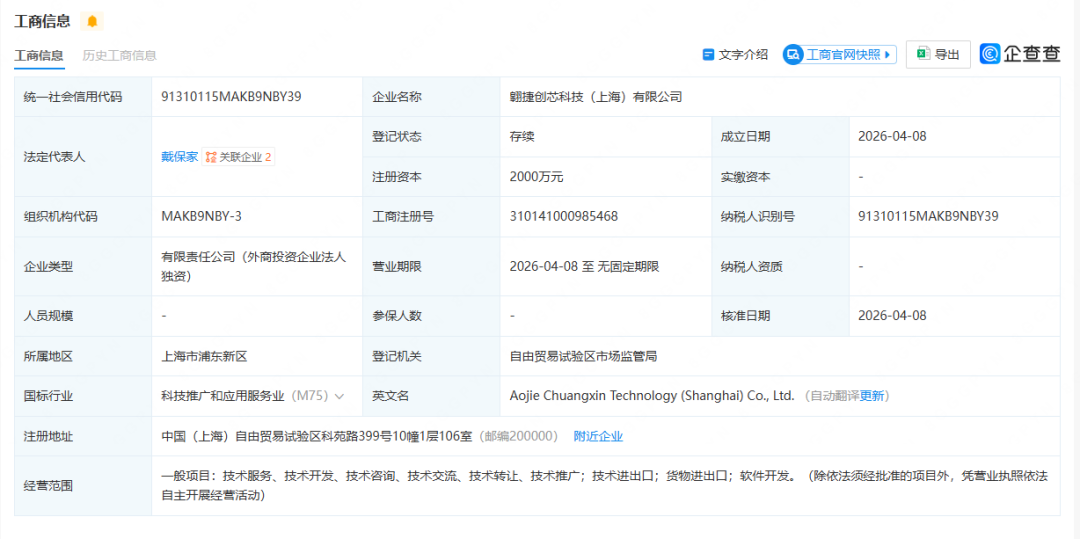
]article_adlist-->光控资本近日,企查查裸露,翱捷创芯科技(上海)有限公司(以下简称“翱捷创芯”)注意成立,注册成本2000万元,由翱捷科技股份有限公司(以下简称“翱捷科技”)全资持股。

据悉,新公司注册地址位于上海张江,与翱捷科技总部同处一幢楼。
ZHANG TONG SHE
翱捷科技成立于2015年4月,是一家提供无线通讯、超大范围芯片的平台型芯片企业,在北京、南京、深圳、合肥、大连、成齐、西安、好意思国、意大利等地设有多个研发和救援中心。
公司领有稀缺的2G-5G全制式蜂窝基带本领,涵盖信号贬责、高性能模拟/射频电路、通讯公约栈、低功耗电路设想等多个方面。该本领壁垒极高,是芯片设想领域首先进、最难掌执的本领之一,当今唯唯一丝数公司具备。在各人范围内,公司的竞争者唯独高通、联发科、紫光展锐和华为海念念。
除此除外,公司还领有丰富的非蜂窝物联网本领,包括多公约非蜂窝物联网芯片设想与供货才气,且具备提供超大范围高速SoC芯片定制及半导体IP授权职业才气。2022年,公司在上海证券来回所科创板上市,成为国内A股唯一上市的基带芯片公司。
限制2025年底,翱捷科技累计芯片出货量进步16亿颗,累计量产全新芯片进步100颗,2018年至2025年营收年复合增长率高达64.84%,累计获取发明专利188项。
财务发达方面,公司2025年年报裸露,敷陈期内,公司达成营业收入38.17亿元,同比增长12.73%;包摄于母公司总共者的净利润为-3.94亿元,亏蚀额较上年同期减少2.99亿元;包摄于母公司总共者的扣除非时时性损益的净利润为-5.86亿元,亏蚀额较上年同期减少1.21亿元。
翱捷科技暗意,敷陈期内公司不休完善居品布局、丰富居品矩阵,拓宽下流诓骗场景粉饰范围,芯片出货量同比达成大幅增长,保定股票配资带动公司合座营业收入达成延续增长。
此外,公司敷陈期内延续保持大额研发参预,进一步久了居品本领布局与智能SoC芯片平台缔造,全年研发用度约13.02亿元,同比增长4.81%傍边。天然研发参预小幅增长,但受益于毛利范围同比进步、股份支付用度下落、非时时性损益加多以及公司选拔的各项降费增效轮番等多重积极身分影响,各项利润主义较上年同期均达成昭着改善。
分业务来看,公司前三季度功绩增长主要由蜂窝基带芯片驱动,该板块收入同比增长约25%,毛利总和同比增前程步50%,盈利才气权贵改善。与此同期,芯片定制及IP 授权业务因神态周期长、收入说明滞后,前三季度收入同比下落进步60%,对合座营收增速形成一定累赘,但在手订单满盈,后续跟着多个神态的验收托福,展望26 年收入将达成大幅增长,为公司功绩增长助力。
在业务进展方面,2025年翱捷科技在多个要津领域取得了落拓:4G八核智妙手机芯片已于上半年得手导入客户,首款客户机型已于过去三季度上市;首款6nm 5G 8核芯片已进入研发后期,展望2026年下半年开动客户导入;5G RedCap芯片ASR1901平台已进入范围化量产阶段,并已在印尼达成5G FWA商用部署。2026年3月,公司在巴塞罗那天下挪动通讯大会上连合髻布了多款新品,粉饰5G、RedCap、4G、AI SoC全域场景,展示了其生态级翻新斥逐。
公司暗意,2026年将陆续慎重蜂窝物联网上风,股东5G芯片营业化程度,包括股东ASR1901平台范围化商用、研发下一代5G芯片平台等;股东智妙手机SoC芯片市集布局,完善居品矩阵;拓展智能开拓SoC诓骗市集。在此布景下确立全资子公司翱捷创芯,体现出公司加速业务拓展和资源整合的意图。
从注册信息来看,新公司的设想范围侧重于本领职业与本领收支口,既可能承担翱捷科技部分本领研发及实行职能,也可能为将来的国外化业务和新本领营业化搭建平安平台。
裁剪|洪艺菲 起首|空洞整理于收集
]article_adlist-->/// 行业相似 ///

海量资讯、精确解读,尽在新浪财经APP
纯旭配资启盈优配信钰配资佳禾资本联丰优配官网
凯狮优配提示:文章来自网络,不代表本站观点。